当前位置:首页>>广州有道有限元>>ANSYS有限元分析
ABAQUS计算指导4:应用壳单元计算开口薄壁截面梁的横力弯曲

ABAQUE的壳单元是在面上生成的,几何模型没有厚度,物理的厚度可以用定义壳单元的截面厚度来实现。
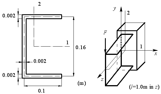
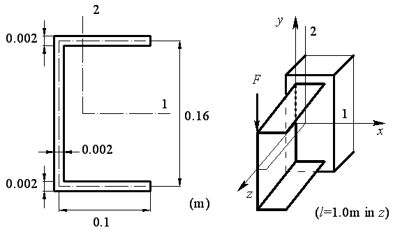
用壳单元模拟槽形截面梁,梁的长度l=1m。材质E=210GPa,μ=0.28,ρ=7850kg/m3。F=1000N,不计重力。计算最大Mises应力,最大绕z轴转角(附加扭转)。
文件与路径
顶部下拉菜单File, Save As ExpAbq04。
一 部件
创建部件,命名为Prat-1。
3D,可变形模型,壳,拓展,图形大约范围0.4(m)。
选用折线绘出图示的截面壳的中线,沿z方向拓展1(l=1m)。
二 性质
1 创建材料:
将材料命名为Material-1,输入E=210GPa,ν=0.28,关闭。
2 创建截面:
名为Section-1,壳,各向同性,材料名选Material-1,厚度0.002m,关闭。
3 将截面的性质附加到部件上:
选中Prat-1,将Section-1信息注入Part-1。
三 组装
创建计算实体,以Prat-1为原形,用Inependent方式生成实体。
四 分析步
创建分析步,命名为Step-1,静态Static,通用General。
注释:无,时间:不变,非线性开关:打开非线性计算。
五 载荷
1 施加位移边界条件:
命名为BC-1,在分析步Step-1中,性质:力学,针对位移和转角。
选中结构后端3线,约束全部自由度。
2 创建载荷:
命名为Load-1,在分析步Step-1中,性质:力学,选择集中力。
选中槽钢的前端左上角点,施加Fy=F2=-1000(N)。
六 网格
对部件Prat-1进行。
1 撒种子:
针对部件,全局种子大约间距0.02(m)。
2 划网格:
针对部件,OK。
七 建立项目
命名为ExpAbq03,选择完整分析,其余不变,OK。
八 观察结果
打开结果文件ExpAbq04.odb,看位移彩图。
在上述过程中不时地将本题的CAE模型保存为ExpAbq04.cae。
命令流
*Heading
** Job name: ExpAbq04inp Model name: Model-1
*Preprint, echo=NO, model=NO, history=NO, contact=NO
**
** PARTS
*Part, name=Part-1
*End Part
**
** ASSEMBLY
*Assembly, name=Assembly
*Instance, name=Part-1-1, part=Part-1
*Node
1,0.1,0.08,0.0
6,0.0,0.08,0.0
14,0.0,-0.08,0.0
19,0.1,-0.08,0.0
1001,0.1,0.08,1.0
1006,0.0,0.08,1.0
1014,0.0,-0.08,1.0
1019,0.1,-0.08,1.0
*Ngen, ,Nset=Part1A
1, 6, 1, , , , , , ,
6,14, 1, , , , , , ,
14,19, 1, , , , , , ,
*Ngen, ,Nset=Part1B
1001, 1006, 1, , , , , , ,
1006, 1014, 1, , , , , , ,
1014, 1019, 1, , , , , , ,
*Nfill, Nset=Part1
Part1A, Part1B, 50, 20
*Element, type=S4R
1, 1, 2,22,21
*Elgen, Elset=Part1
1, 18, 1, 1, 50,20,20,1
** Section: Section-1
*Shell Section, elset=Part1, material=Material-1
0.002, 5
*End Instance
*Nset, nset=AD, internal, generate, instance=Part-1-1
1,19,1
*Nset, nset=BC, internal, instance=Part-1-1
1006
*End Assembly
**
** MATERIALS
*Material, name=Material-1
*Density
7850.,
*Elastic
2.1e+11, 0.28
** ----------------------------------------------------------------
** STEP: Step-1
*Step, name=Step-1, nlgeom=YES
*Static
1., 1., 1e-05, 1.
** BOUNDARY CONDITIONS
** Name: BC-1 Type: Displacement/Rotation
*Boundary
AD, 1, 6
** LOADS
** Name: Load-1 Type: Concentrated force
*Cload
BC, 2, -1000.
** OUTPUT REQUESTS
*Restart, write, frequency=0
** FIELD OUTPUT: F-Output-1
*Output, field, variable=PRESELECT
** HISTORY OUTPUT: H-Output-1
*Output, history, variable=PRESELECT
*End Step